
zzgl. MwSt. zzgl. Versandkosten
Sofort versandfertig, Lieferzeit ca. 1-2 Werktage
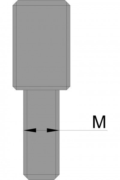
- Artikel-Nr.: 003000M14
 
Gewindebolzen M14 für Aufspannbolzen
Schnelles Rüsten zeichnet unsere Aufspannbolzen besonders aus: schieben Sie die einzelnen Bolzen ohne Spannschraube in die T-Nut des Maschinentisches und positionieren Sie die Bolzen händisch an das Werkstück als Anschlag. Dann ziehen Sie den Aufspannbolzen fest und er dient gleichzeitig als Auflage und zur genauen Positionierung für das Werkstück.
Flexibel für unterschiedlichste Werkstückformen: ob rund, oval, quadratisch oder gar 5-eckig - mit den Aufspannbolzen können Sie verschiedenste Formen aufspannen.
Sicherer Halt: die von oben aufgeschraubten Spannschrauben spannen das Werkstück kraftvoll und sicher auf. Ein weicher austauschbarer Messingring verhindert Beschädigungen oder Kratzer am Werkstück.
Durchbohren: unter dem Werkstück ist viel Platz - kein Spannbacken, keine Unterlage, nichts stört beim Durchbohren Ihrer Werkstücke mit verschiedensten Lochkreisen.
Die geringe Störkontur ermöglicht vielseitige Bearbeitung auch an sonst nur schwer erreichbaren Stellen.